Apple получи патент за фитнес гривна
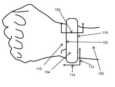
Американската технологична компания Apple получи патент за фитнес гривна с функция за измерване на кръвното налягане
Американската технологична компания Apple получи патент за фитнес гривна с функция за измерване на кръвното налягане
„Империя онлайн“ и „Булпрос“ намират място в списъка на Deloitte Fast 50